Classification
- Globe-type bulb of glass
- White ceramic base with four-prong bayonet gold pins
- Oxide coated filamentary
- Solid plate or mesh plate triode
Application
Voice frequency and carrier-frequency amplifier. Other applications where small power output are required.
Normal Operating Conditions & Parameters
- Filament voltage*: 4.5v
- Nominal filament current: 1.0A
- Plate voltage: 160v
- Grid voltage: -12v
- Plate resistance: 5.3kohms
- Plate current: 9.9mA
- Amplification factor: 6.2
*Alternating-current filament supply or Direct-current filament supply
Limiting Operation Conditions
for Safe Nor Simultaneous Ratings
- Maximum plate voltage: 190v
- Maximum plate current: 15mA
Dimensions
Dimensions and outline diagrams of the tube and base and the arrangement of electrode connections to the base terminals are shown in fig.1 and fig. 2.

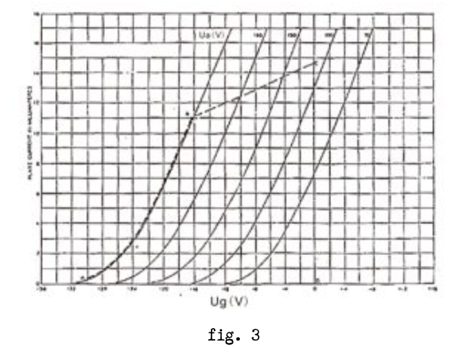
Characteristics
Average Characteristics
Fig. 3 shows typical curves of plate current of grid voltage for several values of plate voltages. It is an alternating-current filament supply.
